W kolejnych częściach omówimy różne typy mechanizmów, takie jak mechanizmy łańcuszkowe i sprężynowe, a także podpowiemy, jak prawidłowo przygotować materiały i przeprowadzić montaż. Dzięki naszym wskazówkom, unikniesz najczęstszych błędów i będziesz mógł cieszyć się pięknymi roletami przez długi czas.
Kluczowe informacje:- Wybór odpowiedniego mechanizmu jest kluczowy dla funkcjonalności rolet.
- Mechanizmy łańcuszkowe oferują łatwość w obsłudze i możliwość zatrzymania rolety na dowolnej wysokości.
- Mechanizmy sprężynowe są idealne w sytuacjach, gdy potrzebna jest większa elastyczność w użytkowaniu.
- Do budowy mechanizmu potrzebne będą odpowiednie materiały, takie jak tkaniny i elementy konstrukcyjne.
- Właściwe narzędzia, takie jak nożyczki, wkrętaki i miarka, są niezbędne do prawidłowego montażu.
- Przygotowanie elementów przed montażem jest kluczowe dla sukcesu całego projektu.
- Regularne utrzymanie rolet zapewni ich długowieczność i estetyczny wygląd.
Wybór odpowiedniego mechanizmu do rolety rzymskiej dla twoich potrzeb
Wybór odpowiedniego mechanizmu do rolety rzymskiej jest kluczowy dla jej funkcjonalności oraz estetyki. Istnieją różne typy mechanizmów, w tym mechanizmy łańcuszkowe i sprężynowe, które różnią się sposobem działania i zastosowaniem. Mechanizmy łańcuszkowe pozwalają na precyzyjne zatrzymanie rolety na dowolnej wysokości, co czyni je bardzo popularnym wyborem. Z kolei mechanizmy sprężynowe są idealne do miejsc, gdzie wymagana jest większa elastyczność w użytkowaniu.
Warto zastanowić się, jaki mechanizm najlepiej odpowiada Twoim potrzebom. Jeśli zależy Ci na prostocie obsługi i możliwości zatrzymania rolety w dowolnym miejscu, mechanizm łańcuszkowy będzie odpowiedni. Z kolei jeśli preferujesz rozwiązania bardziej kompaktowe i estetyczne, mechanizm sprężynowy może być lepszym wyborem. Poniższa tabela porównawcza przedstawia kluczowe różnice między tymi dwoma typami mechanizmów.
| Typ mechanizmu | Zalety | Wady |
|---|---|---|
| Mechanizm łańcuszkowy | Łatwość w obsłudze, możliwość zatrzymania na dowolnej wysokości | Może być mniej estetyczny, wymaga przestrzeni na łańcuszek |
| Mechanizm sprężynowy | Estetyczny, oszczędzający przestrzeń, łatwy w użyciu | Może wymagać więcej siły do podnoszenia, ograniczone zatrzymanie |
Mechanizmy łańcuszkowe - zalety i wady dla rolet
Mechanizmy łańcuszkowe to jeden z najczęściej wybieranych typów do rolet rzymskich. Ich główną zaleta jest możliwość precyzyjnego zatrzymania rolety na dowolnej wysokości, co daje użytkownikowi dużą kontrolę nad ilością światła wpadającego do pomieszczenia. Dodatkowo, mechanizm łańcuszkowy jest łatwy w obsłudze, co czyni go idealnym rozwiązaniem dla osób, które cenią sobie wygodę. Z drugiej strony, wady tego mechanizmu mogą obejmować mniej estetyczny wygląd oraz konieczność zapewnienia przestrzeni na łańcuszek, co może być problematyczne w mniejszych pomieszczeniach.Mechanizmy sprężynowe - kiedy warto je zastosować
Mechanizmy sprężynowe to doskonały wybór dla osób, które poszukują eleganckiego i funkcjonalnego rozwiązania do rolet rzymskich. Działają na zasadzie sprężyny, co pozwala na łatwe podnoszenie i opuszczanie rolety bez zbędnych trudności. Ich główną zaletą jest estetyka – sprężynowe mechanizmy są często mniej widoczne i bardziej kompaktowe, co sprawia, że rolety wyglądają schludniej. Są idealne do pomieszczeń, w których estetyka ma duże znaczenie, takich jak salony czy sypialnie.
Mechanizmy sprężynowe sprawdzają się szczególnie w sytuacjach, gdy użytkownik potrzebuje szybkiego dostępu do regulacji światła, na przykład w kuchni lub biurze. Należy jednak pamiętać, że mogą wymagać nieco więcej siły do podnoszenia rolety, co może być wyzwaniem dla osób starszych lub z ograniczoną siłą. Warto także zwrócić uwagę na ich ograniczenia – mechanizmy te mogą nie oferować takiej samej precyzji zatrzymania jak mechanizmy łańcuszkowe, co może być istotne w przypadku, gdy zależy nam na dokładnym ustawieniu wysokości rolety.
Lista materiałów - co będzie potrzebne do stworzenia mechanizmu
Aby stworzyć mechanizm do rolety rzymskiej, potrzebujesz kilku kluczowych materiałów. Po pierwsze, tkanina jest podstawowym elementem, który będzie stanowił zasłonę. Wybierz materiał, który jest trwały i estetyczny, na przykład bawełnę lub len. Po drugie, będziesz potrzebować rurkilistwyelementy mocujące, takie jak klamry czy wkręty, aby solidnie zamocować całość.
Nie zapomnij również o sznurkułańcuszku do podnoszenia rolety, który będzie integralną częścią mechanizmu. W przypadku mechanizmu sprężynowego, potrzebne będą także sprężyny
Niezbędne narzędzia - jakich narzędzi nie powinno zabraknąć
Do budowy mechanizmu do rolety rzymskiej będziesz potrzebować kilku podstawowych narzędzi. Przede wszystkim, wkrętarka jest niezbędna do montażu elementów, takich jak klamry czy listwy. Dobrze jest mieć także nożyczki do cięcia tkaniny oraz piłęMiarka jest kluczowa do precyzyjnego wymiarowania materiałów, aby wszystko pasowało idealnie.
Oprócz tego, przyda się poziomica do upewnienia się, że mechanizm jest zamontowany równo, oraz kombinerki do wyginania i manipulowania drobnymi elementami. Posiadanie tych narzędzi ułatwi cały proces budowy i zapewni, że mechanizm będzie funkcjonalny i estetyczny.
Przygotowanie elementów - jak prawidłowo przygotować materiały
Aby stworzyć mechanizm do rolety rzymskiej, kluczowe jest odpowiednie przygotowanie wszystkich elementów. Po pierwsze, upewnij się, że tkanina jest dokładnie przycięta do wymaganych wymiarów, aby uniknąć późniejszych problemów podczas montażu. Następnie, zorganizuj wszystkie komponenty, takie jak rurki, listwy i elementy mocujące, w jednym miejscu, co ułatwi późniejszą pracę. Ważne jest także, aby sprawdzić, czy wszystkie materiały są czyste i wolne od uszkodzeń, co zapewni ich długotrwałe użytkowanie.
W przypadku używania sprężyn, upewnij się, że są one odpowiednio skontrolowane pod kątem jakości i sprężystości. Dobrze jest również zaznaczyć miejsca, w których będą mocowane elementy, aby podczas montażu wszystko przebiegało sprawnie. Przygotowanie to kluczowy etap, który pozwoli na łatwiejszy i bardziej efektywny proces budowy mechanizmu.
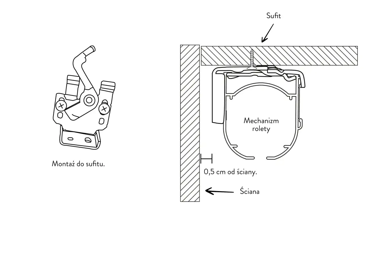
Montaż mechanizmu - szczegółowy opis poszczególnych etapów
Podczas montażu mechanizmu do rolety rzymskiej, ważne jest, aby postępować zgodnie z ustalonymi krokami. Zacznij od zamocowania rurki lub listwy w odpowiednim miejscu, upewniając się, że jest ona równo ustawiona. Następnie, przymocuj tkaninę do mechanizmu, korzystając z elementów mocujących, które wcześniej przygotowałeś. Ważne, aby tkanina była dobrze napięta, co zapewni estetyczny wygląd rolet.
Kolejnym krokiem jest zamontowanie mechanizmu sprężynowego lub łańcuszkowego, w zależności od wybranego rozwiązania. Upewnij się, że wszystkie elementy są odpowiednio przymocowane i działają płynnie. Na koniec, przetestuj mechanizm, podnosząc i opuszczając roletę, aby upewnić się, że działa poprawnie i nie ma żadnych zacięć. Przestrzeganie tych kroków zapewni, że Twój mechanizm będzie funkcjonalny i trwały.
Jak unikać najczęstszych błędów podczas montażu
Podczas montażu rolet rzymskich, wiele osób popełnia typowe błędy, które mogą wpłynąć na funkcjonalność i estetykę. Po pierwsze, nieprawidłowe mierzenie miejsca, w którym mają być zamontowane rolety, jest jednym z najczęstszych problemów. Upewnij się, że dokładnie zmierzyłeś szerokość i wysokość okna, aby uniknąć niedopasowania. Kolejnym błędem jest niewłaściwe mocowanie elementów, co może prowadzić do ich luźnego trzymania lub wręcz odpadania. Zawsze postępuj zgodnie z instrukcjami producenta i używaj odpowiednich narzędzi.
Nie zapominaj również o sprawdzaniu poziomu podczas montażu, aby uniknąć krzywych rolet. Warto również zainwestować czas w odpowiednie przygotowanie materiałów, aby mieć pewność, że są one czyste i gotowe do użycia. Na koniec, nie pomijaj testowania mechanizmu po zakończeniu montażu, aby upewnić się, że działa on płynnie i zgodnie z oczekiwaniami.
Utrzymanie i konserwacja mechanizmu - jak dbać o roletę
Aby zapewnić długowieczność mechanizmu do rolety rzymskiej, regularna konserwacja jest kluczowa. Przede wszystkim, regularnie sprawdzaj stan tkaniny i mechanizmów, aby upewnić się, że nie ma uszkodzeń. W przypadku zauważenia jakichkolwiek problemów, takich jak zacięcia czy trudności w podnoszeniu, warto natychmiast podjąć działania naprawcze. Możesz również czyścić tkaninę zgodnie z zaleceniami producenta, aby usunąć kurz i zabrudzenia, co pomoże zachować jej estetykę.
Warto również okresowo smarować mechanizmy, aby zapewnić ich płynne działanie. Używaj odpowiednich środków smarnych, które nie uszkodzą komponentów. Pamiętaj, że odpowiednia dbałość o rolety nie tylko przedłuży ich żywotność, ale również poprawi komfort użytkowania i estetykę wnętrza.
Jak wykorzystać inteligentne technologie w roletach rzymskich
W dzisiejszych czasach, inteligentne technologie zyskują na popularności w wielu aspektach życia, w tym w systemach osłonowych. Integracja rolet rzymskich z systemami automatyki domowej pozwala na zdalne sterowanie nimi za pomocą aplikacji na smartfonie lub głosowych asystentów, co zwiększa komfort i wygodę użytkowania. Możliwość programowania harmonogramów otwierania i zamykania rolet w zależności od pory dnia lub natężenia światła słonecznego to nie tylko nowoczesne rozwiązanie, ale także sposób na oszczędność energii i zwiększenie efektywności energetycznej w domu.
Warto również rozważyć zastosowanie czujników światła, które automatycznie dostosowują położenie rolet w zależności od warunków zewnętrznych. Dzięki temu, rolety nie tylko będą pełniły funkcję dekoracyjną, ale również przyczynią się do poprawy komfortu termicznego oraz ochrony mebli przed blaknięciem. Takie innowacyjne podejście do tradycyjnych rolet rzymskich może znacząco wpłynąć na jakość życia, oferując użytkownikom nowoczesne i funkcjonalne rozwiązania.






